PET保护膜的制作方法及工艺详解!
PET保护膜的制作方法及工艺详解!
PET保护膜在电子及工业应用上随处可见,PET保护膜的作用主要用于保护产品防刮擦防尘作用,针对目前市场上PET保护膜的不足我们讲解改进型PET安全保护膜,下面小编为大家讲解保护膜的制作方法及工艺。

介绍:
保护膜,在功能上讲是要对我们所要保护的实体物品外放一层膜,使其不受损伤之类的,现在世面上已有高透亮保护膜、AG磨砂保护膜、手机镜子膜、防窥膜等功能型保护膜,聚对苯二甲酸乙二酯(PET)是一种高度结晶的聚合物,其具有优良的耐磨性、电绝缘性、阻燃性、耐热老化性和吸水率低等特性,因此,PET保护膜广泛应用于电脑、数码相机及手机等电子产品中,但现有PET保护膜的抗刮性和抗撕裂性较差,降低了PET保护膜的使用范围,为此,我们提出一种PET安全保护膜。

实现要求:
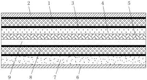
为实现上述PET安全保护膜功能,技术方案如下:PET安全保护膜,包括第一PET膜层和第二PET膜层,第一PET膜层的上表面固定连接有抗刮涂层,第一PET膜层的底部固定连接有抗菌层,抗菌层的底部固定连接有TPU膜层,TPU膜层的底部固定连接有硬化涂层,硬化涂层的底部与第二PET膜层的上表面固定连接,第二PET膜层的底部固定连接有阻燃硅胶复合层,阻燃硅胶复合层包括阻燃层、阻燃硅胶混合层和硅胶层。
第一PET膜层与抗刮涂层和抗菌层之间以及第二PET膜层与阻燃硅胶复合层和硬化涂层之间均通过OCA胶层连接。阻燃硅胶复合层的底部固定连接有离型膜层。阻燃硅胶混合层为阻燃材料与硅胶的混合体。
与现pet保护膜相比,新型PET安全保护膜的有益效果如下:
1、本实用新型在第一PET膜层的上表面固定连接了抗刮涂层,在第二PET膜层的底部固定连接了阻燃硅胶复合层,有效提高了本保护膜的抗刮性、抗撕裂性和阻燃性,且硅胶层具有对屏幕玻璃自动吸附的能力,可适用于一定弧度的屏幕,并具有快速排气泡的能力,提高了保护膜与屏幕玻璃间的贴合效果。
2、本实用新型通过第一PET膜层、第二PET膜层和硬化涂层的作用,可在经受爆炸或较大的冲击时,使本保护膜具有较佳的缓冲作用,防爆效果好、安全可靠。
附图说明

图1为新型PET保护膜结构示意图;
图2为新型PET保护膜阻燃硅胶复合层结构示意图。
图中:1第一PET膜层、2抗刮涂层、3 OCA胶层、4抗菌层、5 TPU膜层、6离型膜层、7阻燃硅胶复合层、71阻燃层、72阻燃硅胶混合层、73硅胶层、8第二PET膜层、9硬化涂层。
PET安全保护膜工艺
下面将结合附图,对PET安全保护膜的技术方案进行清楚、完整地描述。
请参阅图1-2PET安全保护膜,包括第一PET膜层1和第二PET膜层8,第一PET膜层1的上表面固定连接有抗刮涂层2,第一PET膜层1的底部固定连接有抗菌层4,抗菌层4的底部固定连接有TPU膜层5,TPU膜层5的底部固定连接有硬化涂层9,可在经受爆炸或较大的冲击时,使本保护膜具有较佳的缓冲作用,防爆效果好、安全可靠,硬化涂层9的底部与第二PET膜层8的上表面固定连接,第二PET膜层8的底部固定连接有阻燃硅胶复合层7,有效提高了本保护膜的抗刮性、抗撕裂性和阻燃性,第一PET膜层1与抗刮涂层2和抗菌层4之间以及第二PET膜层8与阻燃硅胶复合层7和硬化涂层9之间均通过OCA胶层3连接,阻燃硅胶复合层7包括阻燃层71、阻燃硅胶混合层72和硅胶层73,硅胶层73具有对屏幕玻璃自动吸附的能力,可适用于一定弧度的屏幕,并具有快速排气泡的能力,提高了保护膜与屏幕玻璃间的贴合效果,阻燃硅胶混合层72为阻燃材料与硅胶的混合体,阻燃硅胶复合层7的底部固定连接有离型膜层6。
使用时,在第一PET膜层1的上表面固定连接了抗刮涂层2,在第二PET膜层8的底部固定连接了阻燃硅胶复合层7,有效提高了本保护膜的抗刮性、抗撕裂性和阻燃性,且硅胶层73具有对屏幕玻璃自动吸附的能力,可适用于一定弧度的屏幕,并具有快速排气泡的能力,提高了保护膜与屏幕玻璃间的贴合效果,同时通过第一PET膜层1、第二PET膜层8和硬化涂层9的作用,可在经受爆炸或较大的冲击时,使本保护膜具有较佳的缓冲作用,防爆效果好、安全可靠。
综上所述:该PET安全保护膜,在第一PET膜层1的上表面固定连接了抗刮涂层2,在第二PET膜层8的底部固定连接了阻燃硅胶复合层7,解决了现有PET保护膜的抗刮性和抗撕裂性较差,降低了PET保护膜使用范围的问题。
尽管已经示出和描述了本实用新型的实施例,对于本领域的普通技术人员而言,可以理解在不脱离PET安全保护膜的原理和精神的情况下可以对这些实施例进行多种变化、修改、替换和变型,本PET安全保护膜的范围由所附权利要求及其等同物限定。

技术特征:
1.PET安全保护膜,包括第一PET膜层(1)和第二PET膜层(8),其特征在于:所述第一PET膜层(1)的上表面固定连接有抗刮涂层(2),所述第一PET膜层(1)的底部固定连接有抗菌层(4),所述抗菌层(4)的底部固定连接有TPU膜层(5),所述TPU膜层(5)的底部固定连接有硬化涂层(9),所述硬化涂层(9)的底部与第二PET膜层(8)的上表面固定连接,所述第二PET膜层(8)的底部固定连接有阻燃硅胶复合层(7),所述阻燃硅胶复合层(7)包括阻燃层(71)、阻燃硅胶混合层(72)和硅胶层(73)。
2.PET安全保护膜,第一PET膜层(1)与抗刮涂层(2)和抗菌层(4)之间以及第二PET膜层(8)与阻燃硅胶复合层(7)和硬化涂层(9)之间均通过OCA胶层(3)连接。
3.PET安全保护膜,阻燃硅胶复合层(7)的底部固定连接有离型膜层(6)。
4.PET安全保护膜,阻燃硅胶混合层(72)为阻燃材料与硅胶的混合体。
PET安全保护膜的制作方法及工艺内容就到这里,上述PET安全保护膜是基于现有pet保护膜改进,能够更好的适用于光学行业保护,包括目前使用量超大的电子产品,pet保护膜有高透光度,可完全适用手机、电脑、液晶屏等玻璃制品的保护。
转载自:模切易得通


